109
Kapitel 14
Regel-Wegeventile
Das vorstehende Symbol beschreibt ein in Ruhestellung geschlossenes 3/2-Wege-
ventil, bei dem der Entlüftungsanschluss die Nummer 3 trägt. In Ruhestellung ist der
Ausgang 2 anders als beim 2/2-Wegeventil nicht abgesperrt, sondern mit dem Ent-
lüftungsanschluss 3 verbunden. Die Pfeile zeigen die Durchflussrichtung an. Je mehr
Wege ein Ventil besitzt, desto höher werden die Nummern der Hauptanschlüsse; die
Steueranschlussnummern bleiben dagegen unverändert. Den Nummern der Steuersi-
gnale ist nämlich eine genaue Bedeutung zugewiesen.
10 bedeutet, dass der Eingang 1 mit nichts verbunden ist, während 12 für eine Ver-
bindung zwischen 1 und 2 steht. Ist 12 aktiv, gilt das benachbarte Quadrat (linke Ab-
bildung unten auf der vorherigen Seite): d. h. 1 ist mit 2 verbunden; Anschluss 3, der
zuvor mit dem Entlüftungsanschluss verbunden war, ist nun geschlossen.
Ventile, bei denen eine Federrückstellung über 10 erfolgt, werden als monostabile
Ventile bezeichnet, da die Ruhestellung vorgegeben und das Ausgangssignal genau-
so lang wie das Steuersignal ist. Bei Rücknahme des Steuersignals ändert sich der
Zustand des Ausgangssignals.
Ein Ventil, das keine festgelegte Grundstellung besitzt, bleibt solange in einer der bei-
den Stellungen, bis eines der beiden möglichen Signale anliegt. Die Betätigung kann
dann durch einen Impuls ausgelöst werden, der das Ventil umschaltet, solange kein
Gegensignal eingeht. Derartige Ventile werden als bistabile Ventile bezeichnet; sie
speichern das zuletzt empfangene Signal.
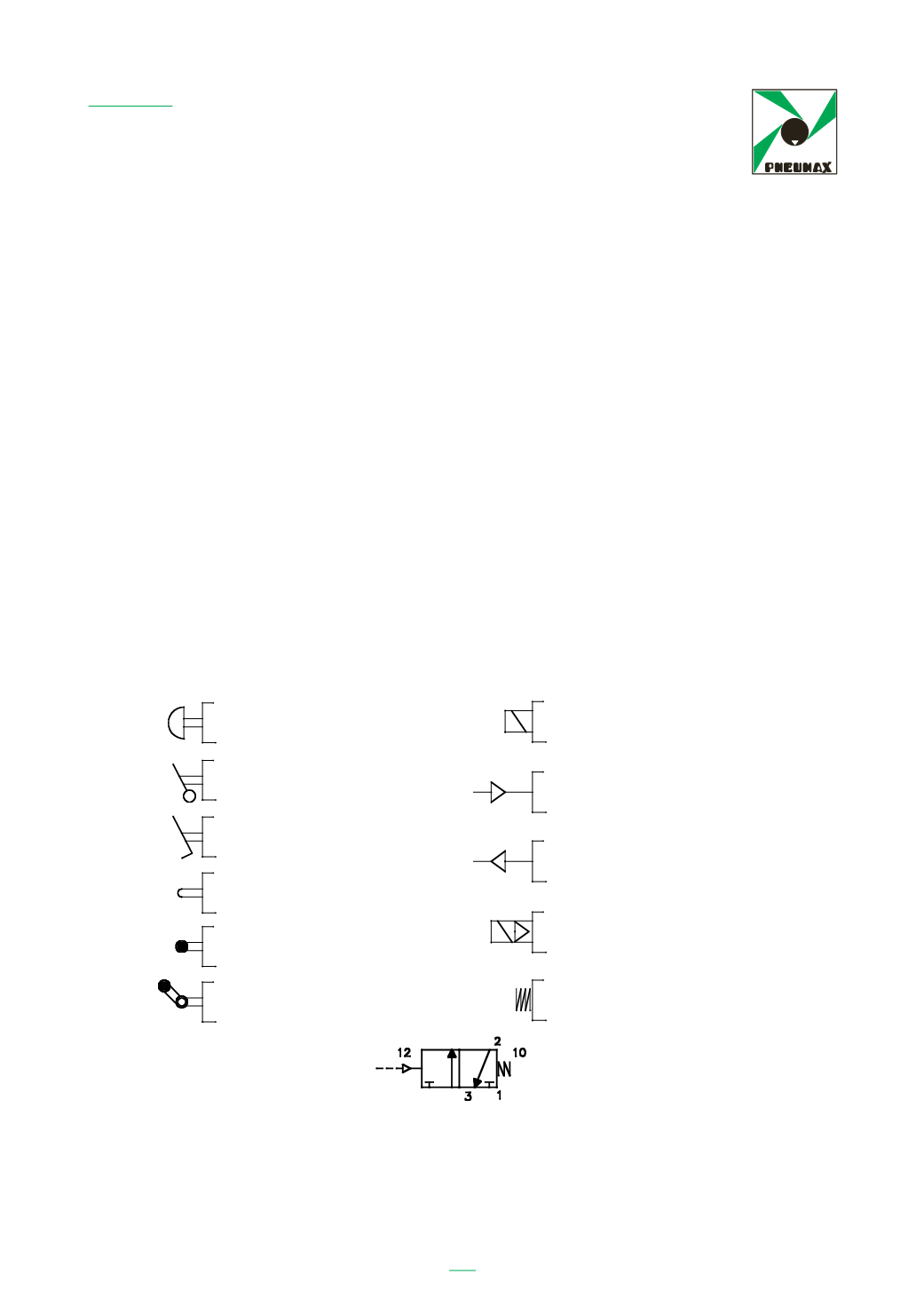
Ergänzt werden die Ventilsymbole durch die grafische Darstellung der Betätigungen,
die mit den Steueranschlüssen 10 und 12 verbunden sind. Die folgende Übersicht ent-
hält die gängigsten Symbole:
Drucktasterbetätigung Elektromagnet, direkt
Hebelbetätigung Pneumatische Druckbetätigung
Pedalbetätigung
Pneumatische Unterdruckbet gung
Stößelbetätigung
Elektromagnet, indirekt
Rollenbetätigung
Rollhebelbetätigung Federbetätigung
Dieses Schaltsymbol beschreibt ein in Grundstellung geschlossenes 3/2-Wegeventil mit
Federrückstellung.
In Grundstellung geschlossene und geöffnete 2/2-Wegeventile werden als einfache Ab-
sperrventile eingesetzt; 3/2-Wegeventile werden zur Betätigung einfach wirkender Zylin-
der oder – über den dritten Ausgang – zur Signalübertragung an andere Ventile einge-
setzt.
132
adiacente ( figura sulla sinistra ) , 1 è connesso con 2 e 3 che in precedenza era
collegato verso lo scarico è ora intercettato.
Le valvole con riposizionamento su 10 tramite molla vengono chiamate
monostabili
od
unistabili
perché la posizione di riposo è predefinita. Significa anche che il
segnale di uscita avrà durata uguale a quella del segnale di comando. La scomparsa
del segnale di comando farà cambiare di stato il segnale di uscita.
Una valvola che non abbia posizione preferenziale, rimane in una delle due posizioni
sino a quando uno dei due segnali non venga selezionato. Il comando, in questo caso,
può essere un impulso e commuterà la valvola a condizione che comando opposto sia
assente. Sono valvole definite
bistabili
o
di memoria
perchè ricordano l’ultimo
segnale di comando ricevuto.
Il completamento del simbolo richiede la grafica del comando relativo ai numeri 10 e
12. I simboli di uso più comun sono:
Pulsante Solenoide azionamento
diretto
Leva o tasto Pneumatico i pressione
Pedale
Pneumatico i depression
Asta meccanica
Solenoide azionamento
Leva rullo
indiretto
ullo a scavallame to
Molla
Come s mpio viene riportata una valvola 3/2 N.C. comando pneumatico ritorna a
molla.
132
adiacente ( figura sulla sinistra ) , 1 è connesso con 2 e 3 che in precedenza era
collegato verso lo scarico è ora intercettato.
Le valvole con riposizionamento su 10 tramite molla vengono chiamate
monostabili
od
unistabili
perché la posizione di ripos è predefinita. Significa anche che il
segnale di uscita avrà durata uguale a quella del segnale di comando. La scomparsa
del segnale di comando farà cambiare di stato il segnale di uscita.
Una valvola che non abbia posizione preferenziale, rimane in una delle due posizioni
sino a quando uno dei due segnali non venga selezionato. Il comando, in questo caso,
p ò essere un impulso e commuterà la v lvola a condizione che comando opposto sia
assente. Sono valvole definite
bistabili
di memoria
perchè ricordano l’ultimo
segnale di comando ricevuto.
Il completamento del simbolo richiede la grafica del comando relativo ai numeri 10 e
12. I simboli di uso più comune sono:
Pulsante Solenoide azionamento
diretto
Leva o tasto Pneumatico in pressione
Pedale
Pneumatico in depressione
Asta meccanica
Solenoide azionamento
Leva rullo
indi etto
Rullo a scavallamento
Molla
Come ese pio viene riportata u a valvola 3/2 N.C. comando pn umatico ritorna a
molla.
132
adiace te ( figura sulla sinistra ) , 1 è connesso con 2 e 3 che in precedenza era
collegato verso lo scarico è ora intercettato.
Le valvole con riposizionamento su 10 tramite molla vengon chiamate
monostabili
od
unistabili
perché la posizione di riposo è predefinita. Significa anche che il
segnale di uscita avrà durata uguale a quella del segnale di comando. La scomparsa
del segnale di comando farà cambiare di stato il segnale di uscita.
Una valvola che non abbia posizione preferenziale, rimane in una delle due posizioni
sino a quando uno dei due segnali non venga selezionato. Il comando, in questo caso,
può essere un impulso e commuterà la valvola a condizione che comando opposto sia
assente. Sono valvole definite
bistabili
o
di memoria
perchè ricordano l’ultimo
segnale di comando ricevuto.
Il completamento del simbolo richiede la grafica del comando relativo ai numeri 10 e
12. I simboli di uso più comune sono:
Pulsante Solenoide azionamento
diretto
Leva o tasto Pneumatico in pressione
Pedale
Pneumatico in depressione
Asta meccanica
Solenoide azionamento
Leva rullo
indiretto
Rullo a scavallamento
Molla
Come esempio viene riportata una valvola 3/2 N.C. comando pneumatico ritorna a
molla.




